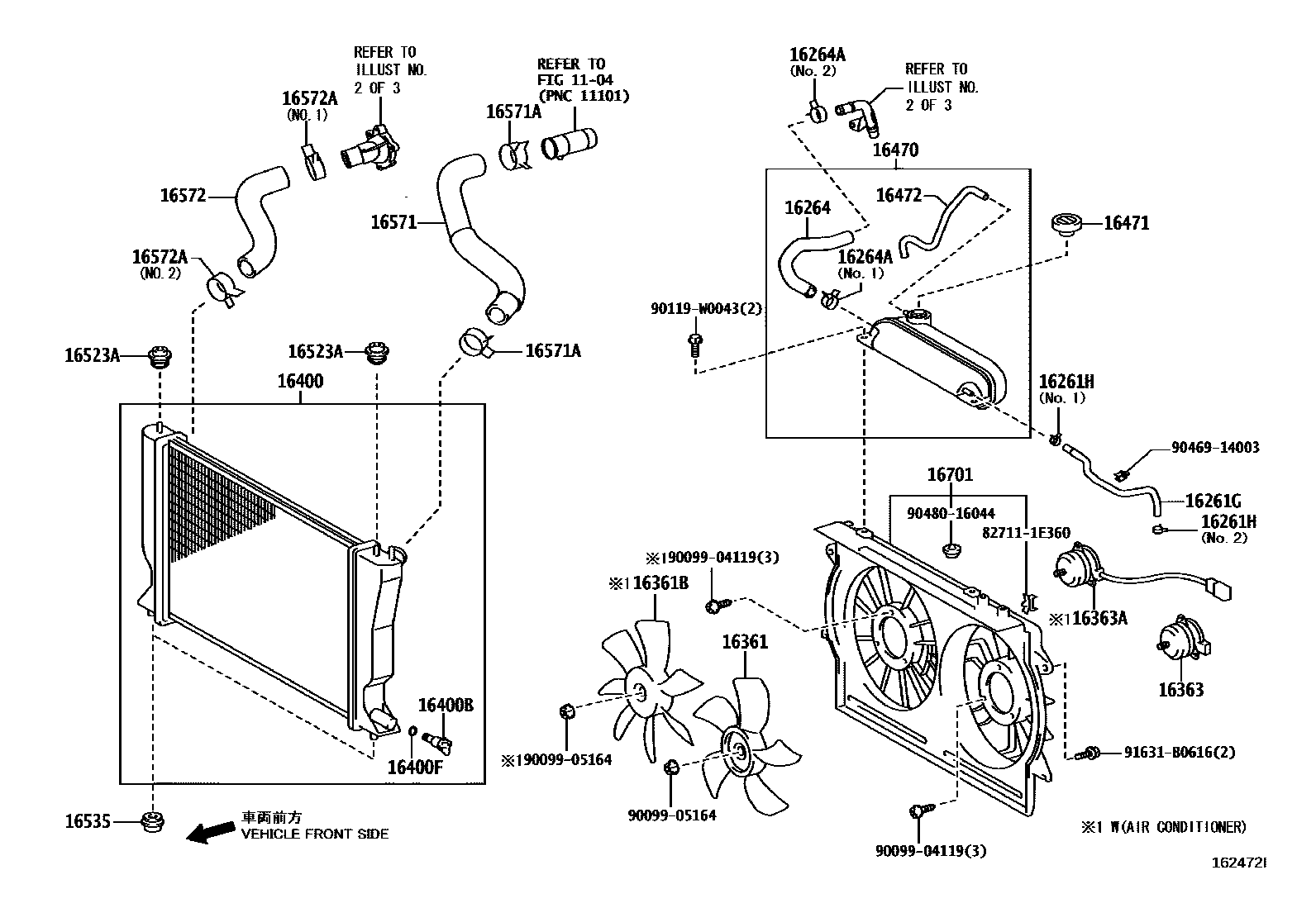
RADIATOR & WATER OUTLET

1104
16261HOSE, WATER BY-PASS
(L)
(J)
16261HCLIP(FOR WATER BY-PASS HOSE NO.1)
NO.1
NO.2
16264HOSE, WATER BY-PASS, NO.2
(L)
(L)
(J)
(J)
16264ACLAMP OR CLIP(FOR WATER BY-PASS HOSE NO.2)
NO.1
NO.2
16361FAN
16361BFAN, NO.2
AIR CONDITIONER-MANUAL AIR CONDITIONER(DEALER OPTION)
AIR CONDITIONER-MANUAL AIR CONDITIONER(MAKER OPTION)
AIR CONDITIONER-MANUAL(MAKER OPTION)
16363MOTOR, COOLING FAN
16363AMOTOR, COOLING FAN, NO.2
AIR CONDITIONER-MANUAL AIR CONDITIONER(MAKER OPTION)
AIR CONDITIONER-MANUAL AIR CONDITIONER(DEALER OPTION)
AIR CONDITIONER-MANUAL(MAKER OPTION)
16400BPLUG, RADIATOR DRAIN COCK
16400FPACKING(FOR RADIATOR DRAIN COCK)
16470TANK ASSY, RADIATOR RESERVE
16471CAP SUB-ASSY, RESERVE TANK
16472HOSE, BREATHER
16523ACUSHION, RADIATOR SUPPORT
16535SUPPORT, RADIATOR, LOWER
16571ACLAMP OR CLIP, HOSE(FOR RADIATOR INLET)
NO.2
NO.1
16572ACLAMP OR CLIP, HOSE(FOR RADIATOR OUTLET NO.1)
NO.2
NO.1
827111E360WIRE, FUSE TO FUSE(FOR COMBUSTION HEATER)
9009904119
main90099-04119
9009905164
90119W0043
9046914003
9048016044
91631B0616
30 parts on this diagram · 11 diagrams in section