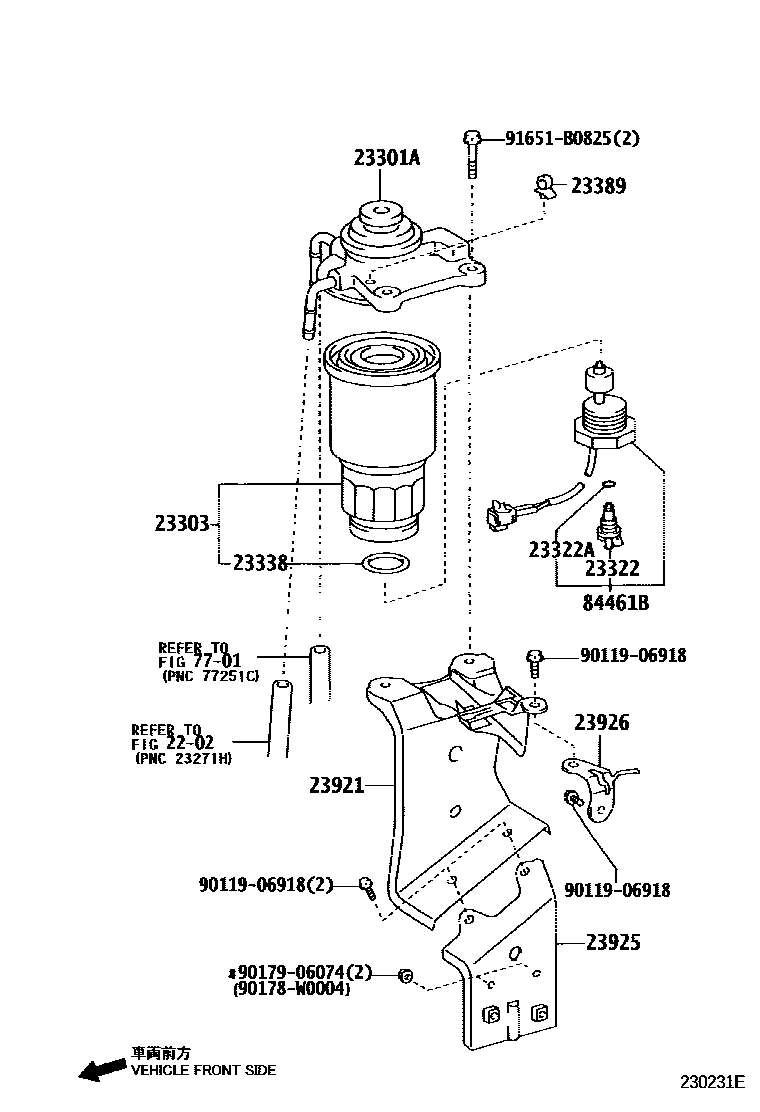
FUEL FILTER

2202
23322PLUG, DRAIN(FOR FUEL FILTER)
23322ARING, O(FOR DRAIN PLUG)
23338GASKET(FOR WARNING SWITCH)
23389CLAMP, FUEL FILTER
COLD SPEC
23921SUPPORT, FUEL FILTER
23925STAY, FUEL FILTER SUPPORT
23926STAY, FUEL FILTER SUPPORT, NO.2
7701
84461BSWITCH, LEVEL WARNING
9011906918
90178W0004
main90178-W0004
9017906074
91651B0825
16 parts on this diagram · 4 diagrams in section