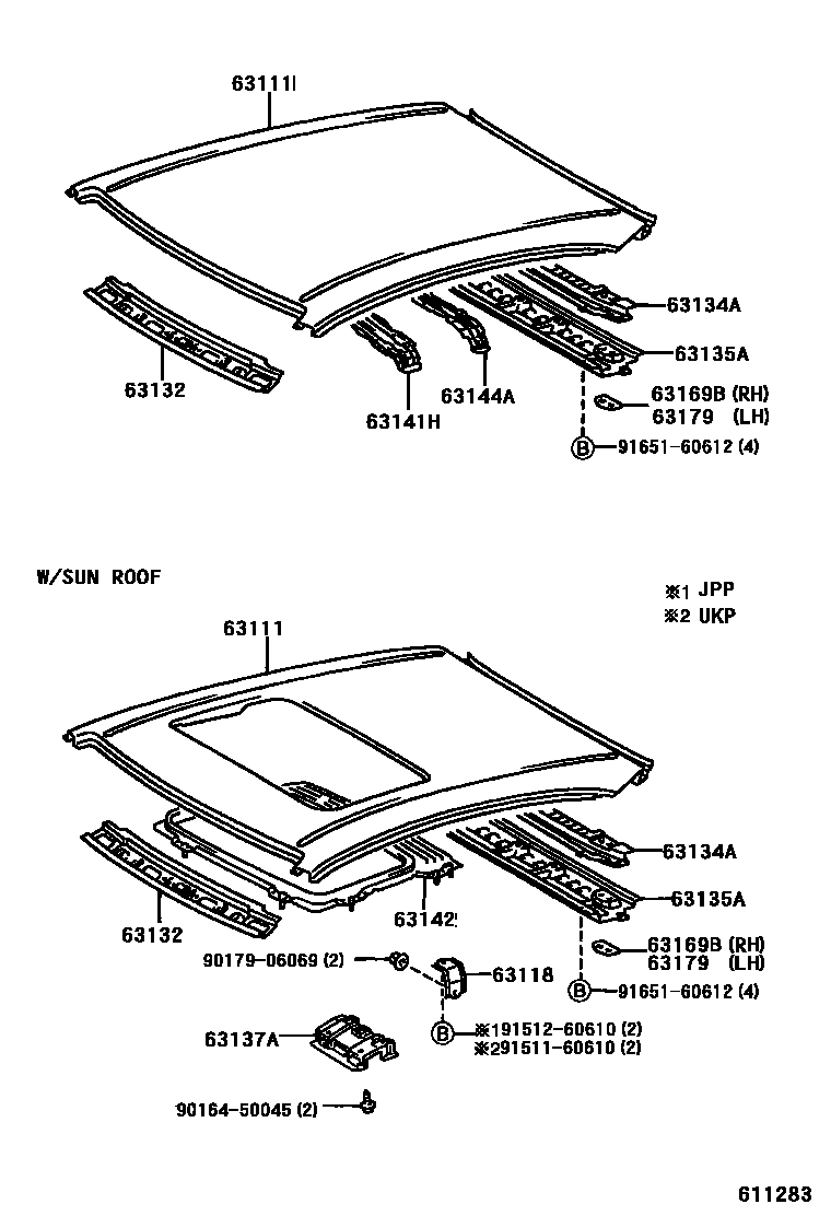
63111PANEL, ROOF
main63111-02090iAE111,EE111,WZE110,ZZE11#..UKP199809-200111 main63111-02100iAE111,EE111,WZE110,ZZE11#..UKP199809-200111 W(MOON ROOF)
main63111-12720iAE111,CE110,EE111..JPP..LB199704-200109 main63111-12730iAE111,CE110,EE111..JPP..LB199704-200109 W(MOON ROOF)
main63111-12750iAE111,CE110,EE111..HB..(G6,LUNA,TERRA)199704-200107 W(MOON ROOF)
63118SUPPORT, ROOF PANEL, RH
main63118-12080iAE111,CE110,EE111..JPP..LB199704-200111 main63118-12090iCDE110,WZE110,ZZE11#..HB..(G6,SOL,TERRA)199704-200107 63132PANEL, WINDSHIELD HEADER, INNER
main63132-12210iAE111,EE111..UKP;CDE110,WZE110,ZZE11#199704-200111 63134AFRAME, BACK DOOR OPENING, UPPER
main63134-12180iAE111,CE110,EE111..JPP..LB199704-200111 63135AFRAME, BACK DOOR OPENING, LOWER
main63135-12120iCDE110,ZZE11#..LB;AE111,EE111,WZE110..UKP199704-200111 63137ABRACKET, DOME LAMP, NO.1
main63137-02010iAE111,EE111,WZE110,ZZE11#..UKP199809-200111 63141HREINFORCEMENT, ROOF PANEL, CENTER
main63141-12200iAE111,CE110,EE111..JPP..LB199704-200111 63142REINFORCEMENT, ROOF PANEL, NO.2
main63142-12080iAE111,EE111..UKP;CDE110,WZE110,ZZE11#..G6,SOL,TERRA199704-200111 63144AREINFORCEMENT, ROOF PANEL, NO.4
main63144-12070iCDE110,ZZE11#..LB;AE111,EE111,WZE110..UKP199704-200111 63169BPLATE, ROOF PANEL REINFORCEMENT, RH
main63169-35010iAE111,EE111..UKP;CDE110,WZE110,ZZE11#199704-200111 63179PLATE, ROOF PANEL REINFORCEMENT, LH