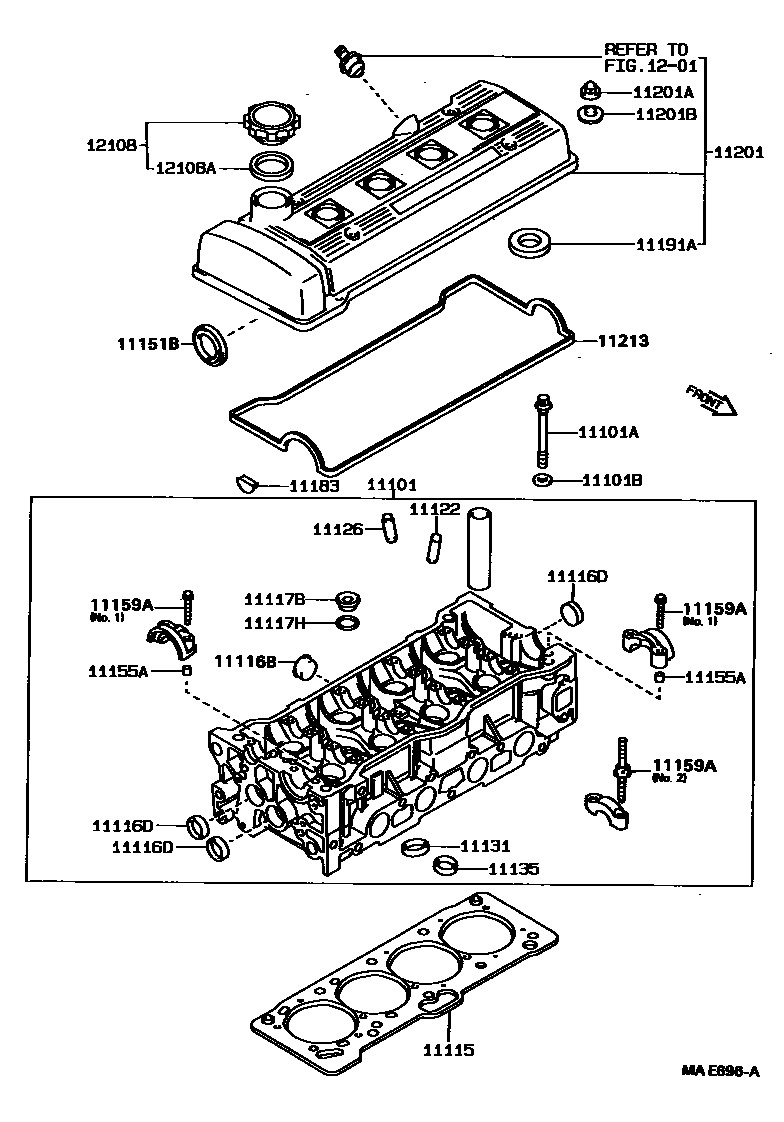
CYLINDER HEAD

11101ABOLT(FOR CYLINDER HEAD SET)
*11-1.25PX123-53
*11-1.25PX145-53
*9-1.25PX84.5-50
*9-1.25PX98.5-50
*10-1.25PX90-22
*10-1.25PX108-22
*11-1.25PX160-60
*11-1.25PX104-63
11101BWASHER, PLATE(FOR CYLINDER HEAD SET)
11115GASKET, CYLINDER HEAD
MARK 1
MARK 2
MARK 3
T=1.26,1 HOLE
T=1.26
T=1.30,2 HOLES
T=1.30
T=1.34
T=1.34,3 HOLES
T=1.38,4 HOLES
T=1.38
T=1.42
T=1.42,5 HOLES
11116BPLUG, TIGHT, NO.2
11116DPLUG, TIGHT, NO.4
11117BPLUG, W/HEAD TAPER SCREW, NO.2
11117HGASKET(FOR WATER HOLE)
PNC 11118A
PNC 11118C
PNC 11118B
11122BUSH, INTAKE VALVE GUIDE
STD
STD
STD
STD
O/S 0.05
O/S 0.05
O/S 0.05
11126BUSH, EXHAUST VALVE GUIDE
STD
STD
STD
STD
O/S 0.05
O/S 0.05
O/S 0.05
STD
O/S 0.05
11131SEAT, INTAKE VALVE
STD
STD
STD
O/S 0.03
O/S 0.03
O/S 0.03
11135SEAT, EXHAUST VALVE
STD
STD
STD
O/S 0.03
O/S 0.03
O/S 0.03
11151BSEAL, OIL(FOR CAMSHAFT SETTING)
11155APIN, RING W/HEAD
11159ABOLT(FOR HEAD TO CAMSHAFT BEARING CAP)
NO.1
NO.2
NO.2
NO.1
NO.1
NO.2
11183PLUG, SEMICIRCULAR
11191AGASKET(FOR SPARK PLUG TUBE)
11201COVER SUB-ASSY, CYLINDER HEAD
(L)
(J)
11201ANUT, CAP(FOR CYLINDER HEAD COVER)
11201BWASHER, SEAL(FOR CYLINDER HEAD COVER)
11213GASKET, CYLINDER HEAD COVER
(L)
(J)
1201
12108AGASKET(FOR OIL FILLER CAP)
24 parts on this diagram · 7 diagrams in section