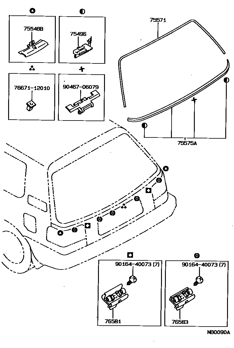
REAR MOULDING

75496CLIP, BACK WINDOW OUTSIDE MOULDING, NO.1
RH
LH
75548BFASTENER, BACK WINDOW OUTSIDE MOULDING
75571MOULDING, BACK WINDOW, OUTSIDE UPPER
75575AMOULDING, BACK WINDOW, OUTSIDE LOWER
76581RETAINER, BACK WINDOW OUTSIDE MOULDING
76583RETAINER, BACK WINDOW OUTSIDE LOWER MOULDING, RH
7667112010CLIP, QUARTER BELT MOULDING, NO.1
main76671-12010
9016440073
main90164-40073
9046706079
main90467-06079
9 parts on this diagram · 1 diagram in section