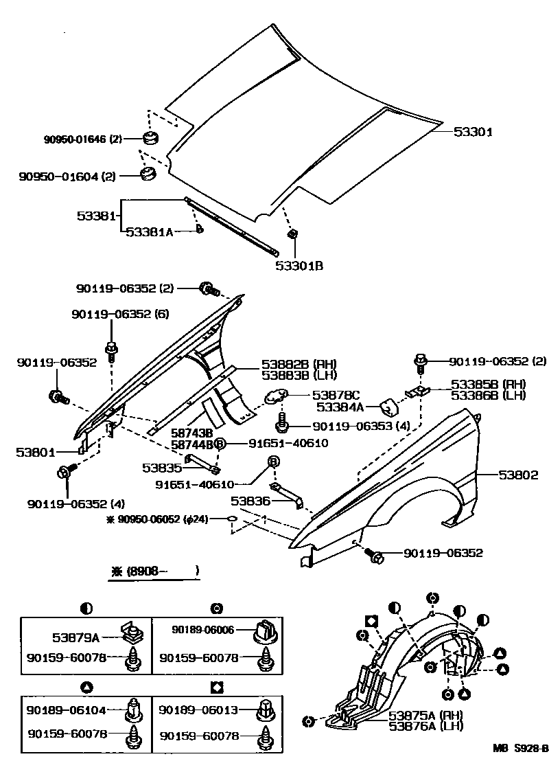
HOOD & FRONT FENDER

53301HOOD SUB-ASSY
53301BCUSHION, HOOD BUMPER
53381SEAL, HOOD TO RADIATOR SUPPORT
53381ACLIP(FOR HOOD TO RADIATOR SUPPORT SEAL)
53384ABUMPER, FENDER TO HOOD
53385BBRACKET, FENDER TO HOOD BUMPER, RH
53386BBRACKET, FENDER TO HOOD BUMPER, LH
53835BRACE, FRONT FENDER TO EXTENSION, RH
53836BRACE, FRONT FENDER TO EXTENSION, LH
53875ALINER, FRONT FENDER, RH
53876ALINER, FRONT FENDER, LH
53878CSPACER, FRONT FENDER
53879ARETAINER, FRONT FENDER LINER
53882BSEAL, FRONT FENDER, RH
53883BSEAL, FRONT FENDER, LH
58743BPROTECTER, FRONT FENDER PANEL, RH
58744BPROTECTER, FRONT FENDER PANEL, LH
9011906352
main90119-06352
9011906353
main90119-06353
9015960078
main90159-60078
9018906006
main90189-06006
9018906013
main90189-06013
9018906104
main90189-06104
9095001604
main90950-01604
9095001646
main90950-01646
9095006052
main90950-06052
9165140610
main91651-40610
29 parts on this diagram · 1 diagram in section