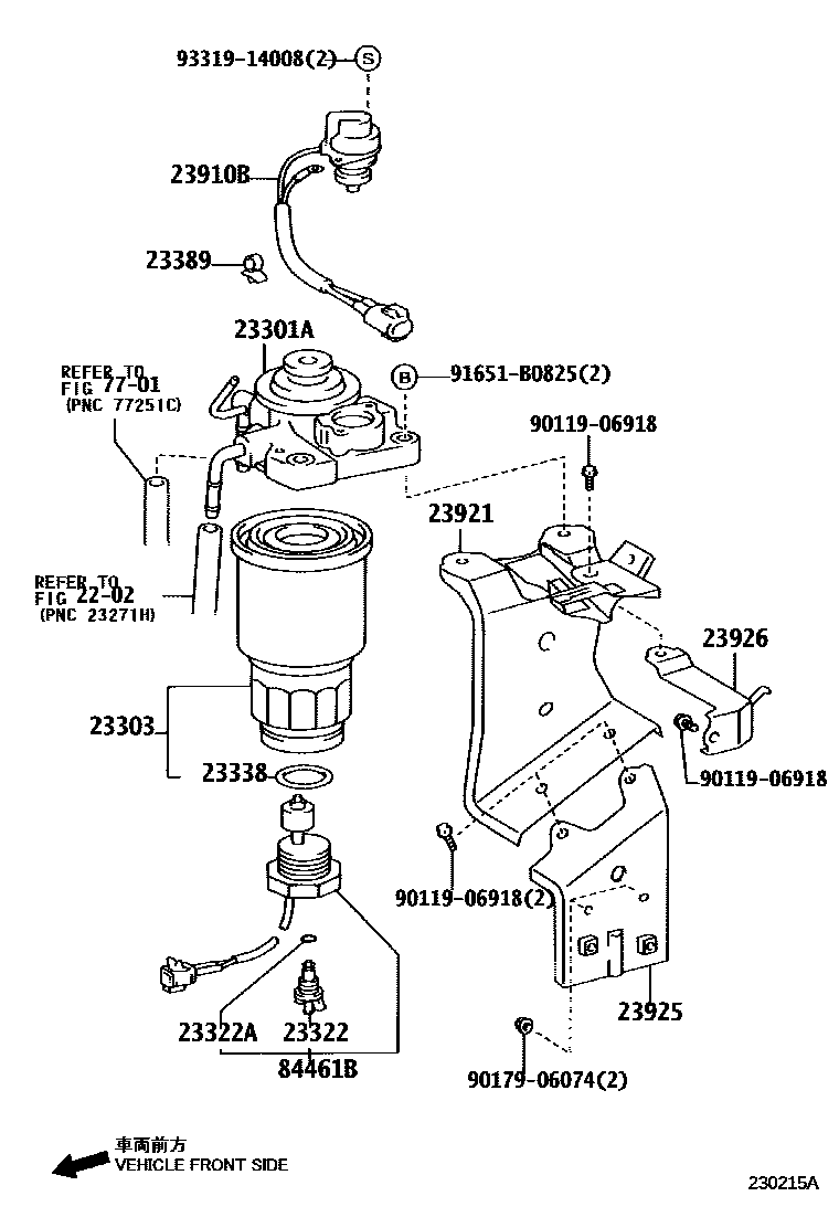
FUEL FILTER

2202
23322PLUG, DRAIN(FOR FUEL FILTER)
23322ARING, O(FOR DRAIN PLUG)
23338GASKET(FOR WARNING SWITCH)
23389CLAMP, FUEL FILTER
23910BHEATER ASSY, FUEL
23921SUPPORT, FUEL FILTER
23925STAY, FUEL FILTER SUPPORT
23926STAY, FUEL FILTER SUPPORT, NO.2
7701
84461BSWITCH, LEVEL WARNING
sub84461-60081
9011906918
main90119-06918
9017906074
main90179-06074
91651B0825
main91651-B0825
9331914008
main93319-14008
17 parts on this diagram · 2 diagrams in section