E
EPC Data

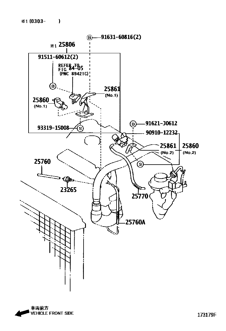
VACUUM PIPING

Parts diagram
23265FILTER, GAS, NO.1
main90917-11037i¥1,210200209-200405
25760HOSE ASSY, VACUUM TRANSMITTING
main25760-27050i¥1,070200209-200405
main25760-33040i¥1,360200408
25760AHOSE ASSY, VACUUM TRANSMITTING
main25760-27040i¥2,490200209-200405
25770HOSE ASSY, VACUUM TRANSMITTING, NO.2
main25770-27030i¥2,490200209-200405
25806VALVE SET, PRESSURE CONTROL
main25806-27020i¥40,500200303-200405
25860VALVE ASSY, VACUUM SWITCHING, NO.1
main25860-27020i¥5,700200209-200405
NO.2
main25860-28130i¥5,700200405
main25860-64140i¥5,700200209-200405
NO.1
25861BRACKET, VACUUM SWITCHING VALVE
main25861-27020i¥4,950200209-200405
NO.1
main25861-27030i¥1,790200209-200405
NO.2
8405
9091012232
main90910-12232¥3,810
9151160612
main91511-60612¥110
91621J0612
main91621-J0612¥70
9163160816
main91631-60816¥160
9331915008
main93319-15008¥170

13 parts on this diagram · 4 diagrams in section

VACUUM PIPING — Toyota Parts Diagram with OEM Numbers & Prices | EPC Data