E
EPC Data
Pricing
API Docs
Sign In
Home
›
EU
›
151430
›
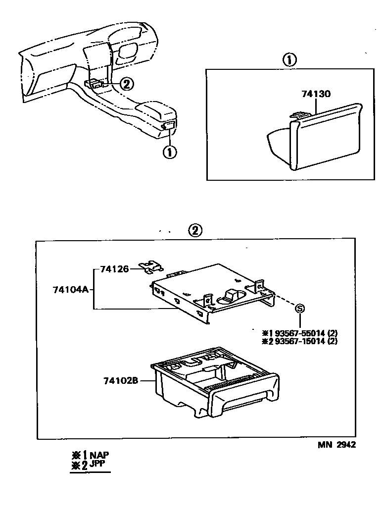
ASH RECEPTACLE
ASH RECEPTACLE
74102B
BOX SUB-ASSY, FRONT ASH RECEPTACLE
main
74102-02010
i
AE10#..JPP
199308-199704
sub
74102-12220
main
74102-12220
i
AE10#..JPP
199206-199704
(J)
74104A
RETAINER SUB-ASSY, FRONT ASH RECEPTACLE
main
74104-12210
i
AE10#..JPP
199206-199505
sub
74104-12230
main
74104-12230
i
AE10#..JPP
199505-199704
74126
SUPPORT, FRONT ASH RECEPTACLE RET, NO.3
main
74126-32010
i
AE10#..JPP
199206
74130
RECEPTACLE ASSY, REAR ASH
main
74109-12020-E0
i
AE10#..JPP
199508-199704
OAK,TRIM4#
sub
74109-20080
sub
74109-12020
main
74109-12020-K0
i
AE10#..JPP
199206-199508
TAUPE,TRIM9#
sub
74109-20080
sub
74109-12020
main
74109-12020-P0
i
AE10#..JPP
199206-199704
SHADOW GRAY,TRIM1#
sub
74109-20080
sub
74109-12020
main
74109-12020-W3
i
AE10#..JPP
199206-199704
DARK BLUE,TRIM8#
sub
74109-20080
sub
74109-12020
9356715014
main
93567-15014
9356755014
main
93567-55014
6 parts on this diagram · 1 diagram in section
ASH RECEPTACLE — Toyota Parts Diagram with OEM Numbers & Prices | EPC Data