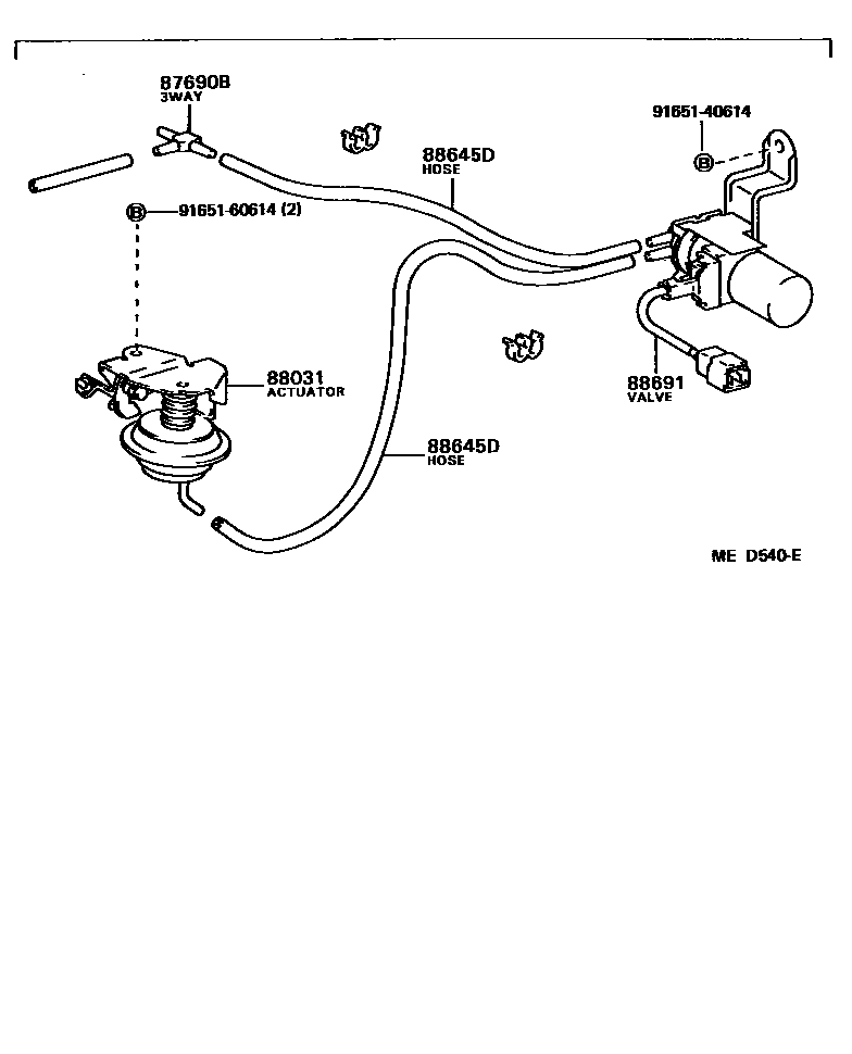
HEATING & AIR CONDITIONING - VACUUM PIPING

87690BWAY, 3
88031ACTUATOR SET, IDLE-UP
COOLER IDLE UP
88645DHOSE (FOR IDLE UP DEVICE)
88691VALVE, MAGNET (FOR IDLE UP DEVICE)
9165140614
main91651-40614
9165160614
main91651-60614
6 parts on this diagram · 2 diagrams in section