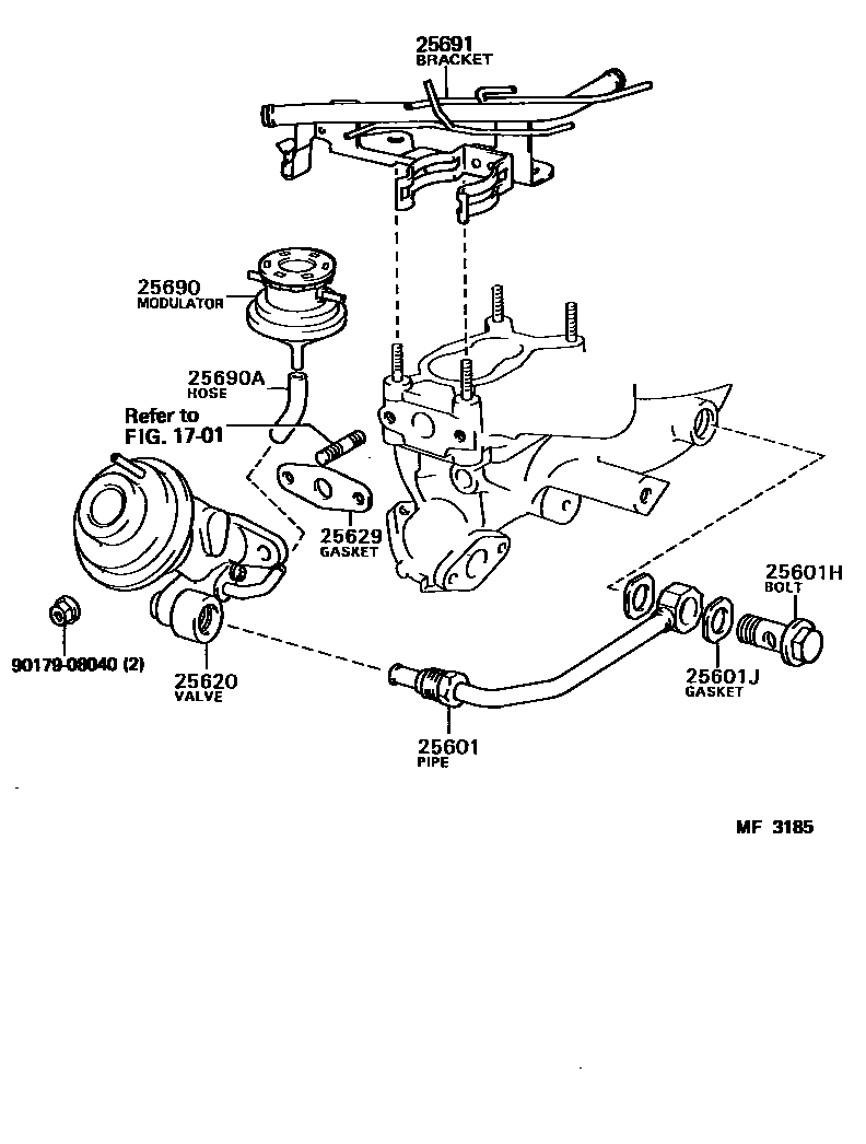
EXHAUST GAS RECIRCULATION SYSTEM

1701
25601PIPE SUB-ASSY, EGR, NO.1
CALIFORNIA SPEC
25601HBOLT, UNION(FOR EGR PIPE,NO.1)
25601JGASKET(FOR EGR PIPE, NO.1)
25620VALVE ASSY, EGR
CALIFORNIA SPEC
25629GASKET, EGR VALVE ADAPTER
25690MODULATOR ASSY, EGR VACUUM
25690AHOSE(FOR EGR VACUUM MODULATOR)
25691BRACKET, EGR VACUUM MODULATOR
9017908040
main90179-08040
10 parts on this diagram · 2 diagrams in section