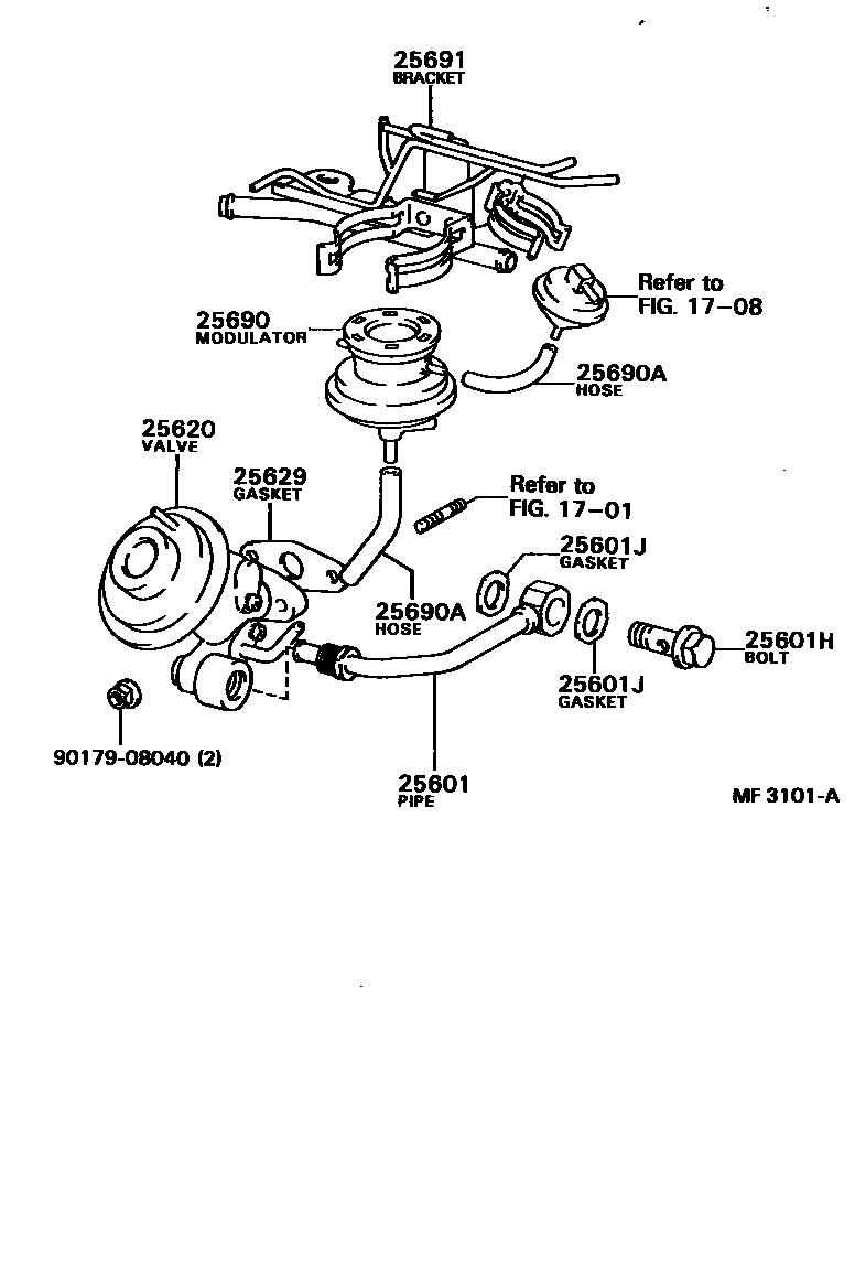
EXHAUST GAS RECIRCULATION SYSTEM

1701
1708
25601PIPE SUB-ASSY, EGR, NO.1
25601HBOLT, UNION(FOR EGR PIPE,NO.1)
25601JGASKET(FOR EGR PIPE, NO.1)
25620VALVE ASSY, EGR
FRG SPEC
25629GASKET, EGR VALVE ADAPTER
25690MODULATOR ASSY, EGR VACUUM
FRG SPEC
25690AHOSE(FOR EGR VACUUM MODULATOR)
25691BRACKET, EGR VACUUM MODULATOR
FRG SPEC
9017908040
main90179-08040
11 parts on this diagram · 2 diagrams in section