E
EPC Data

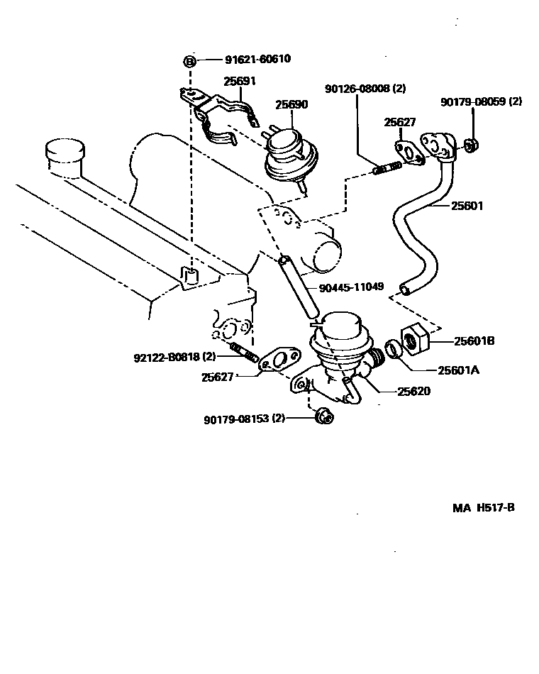
EXHAUST GAS RECIRCULATION SYSTEM

Parts diagram
25601PIPE SUB-ASSY, EGR, NO.1
main25611-11050i199508
25601ASLEEVE, BALL, EGR PIPE, NO.1
main90410-14005i199508
25601BNUT, UNION, EGR PIPE, NO.1
main90402-22076i199508
25620VALVE ASSY, EGR
main25620-11140i199508
main25620-11150i199508
25627GASKET, EGR VALVE
main25627-11030i199508
25690MODULATOR ASSY, EGR VACUUM
main25870-11090i199508
main25870-11100i199508
25691BRACKET, EGR VACUUM MODULATOR
main25691-11060i199508
9012608008
9017908059
9017908153
9044511049
9162160610
92122B0818

13 parts on this diagram · 1 diagram in section

EXHAUST GAS RECIRCULATION SYSTEM — Toyota Parts Diagram with OEM Numbers & Prices | EPC Data