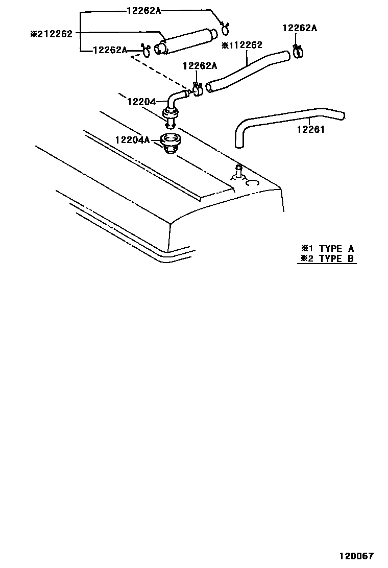
VENTILATION HOSE

12204VALVE SUB-ASSY, VENTILATION
WHITE
BLACK
12204AGROMMET(FOR VENTILATION SYSTEM)
12261HOSE, VENTILATION
12262HOSE, VENTILATION, NO.2
TYPE A:REFER TO ILLUSTRATION
TYPE B:REFER TO ILLUSTRATION
12262ACLIP(FOR VENTILATION HOSE NO.2)
5 parts on this diagram · 1 diagram in section