E
EPC Data
Pricing
API Docs
Sign In
Home
›
EU
›
144410
›
VENTILATION HOSE
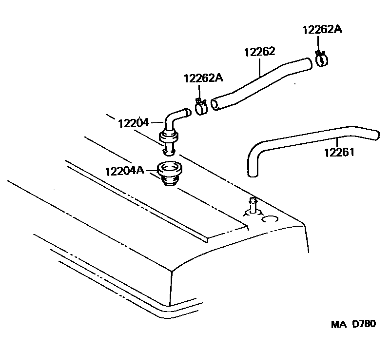
VENTILATION HOSE
12204
VALVE SUB-ASSY, VENTILATION
main
12204-10020
i
5EFE..EL44
199104-199306
sub
12204-10030
main
12204-10030
i
5EFE..EL44
199409-199508
main
12204-10040
i
5EFE..EL44..USA
199409-199508
CALIFORNIA SPEC
12204A
GROMMET(FOR VENTILATION SYSTEM)
main
90480-18006
i
5EFE..EL44
199104-199508
12261
HOSE, VENTILATION
main
12261-11160
i
5EFE..EL44..MTM
199104-199508
main
12261-11170
i
5EFE..EL44..ATM
199208-199508
main
12261-11170
i
5EFE..EL44..MTM..USA
199104-199409
CARIFORNIA PACKAGE
main
12261-11190
i
5EFE..EL44..USA
199409-199508
CARIFORNIA PACKAGE
12262
HOSE, VENTILATION, NO.2
main
12262-11050
i
5EFE..EL44
199104-199508
12262A
CLIP(FOR VENTILATION HOSE NO.2)
main
90467-13036
i
5EFE..EL44
199104-199105
sub
90467-13001
main
90467-14001
i
5EFE..EL44
199505-199508
main
90467-14043
i
5EFE..EL44
199105-199505
5 parts on this diagram · 1 diagram in section
VENTILATION HOSE — Toyota Parts Diagram with OEM Numbers & Prices | EPC Data