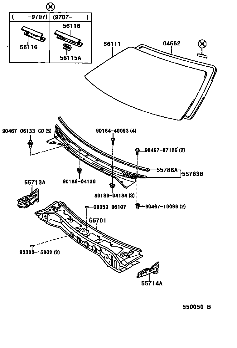
COWL PANEL & WINDSHIELD GLASS

04562DAM KIT, WINDSHIELD GLASS
55713APANEL, COWL TOP SIDE, RH
55714APANEL, COWL TOP SIDE, LH
56111GLASS, WINDSHIELD
*LAM,T=4.7,CLEAR
56115ASTOPPER, WINDSHIELD GLASS, NO.1
9016440093
main90164-40093
9018904130
main90189-04130
9018904184
main90189-04184
9033315002
main90333-15002
9046706133C0
main90467-06133C0
9046707126
main90467-07126
9046710096
main90467-10096
9095006107
main90950-06107
17 parts on this diagram · 1 diagram in section