E
EPC Data
Pricing
API Docs
Sign In
Home
›
EU
›
141410
›
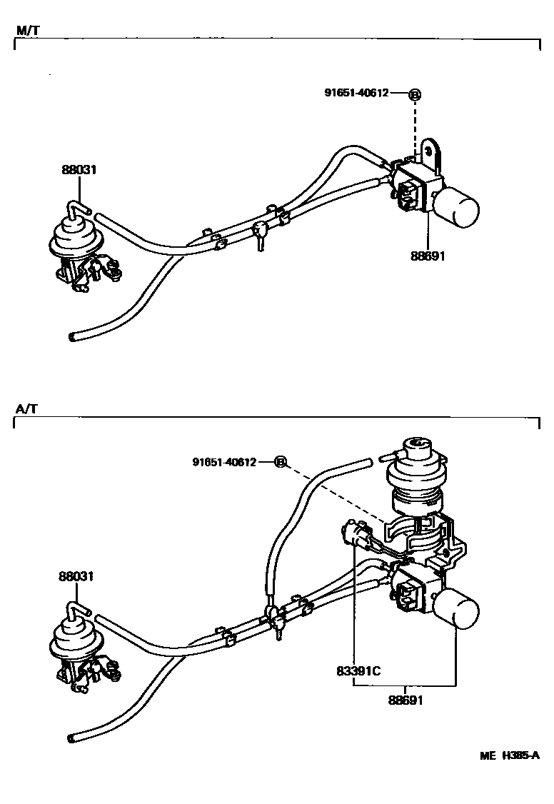
HEATING & AIR CONDITIONING - VACUUM PIPING
HEATING & AIR CONDITIONING - VACUUM PIPING
0001 1
0002 1
83391C
SWITCH, COOLER VACUUM
main
83391-16160
i
EL31..3FC
¥4,730
198608-198808
88031
ACTUATOR SET, IDLE-UP
main
88031-10021
i
EL31..CND
¥6,100
198608-198708
sub
88031-16080
¥5,800
main
88031-16070
i
EL31..USA
198701-198706
sub
88031-16080
¥5,800
main
88031-16080
i
EL31..CND
¥5,800
198706-198808
88691
VALVE, MAGNET (FOR IDLE UP DEVICE)
main
88690-16150
i
EL31..5F..USA
198608-198708
sub
88690-16151
main
88690-16151
i
EL31..TER..MTM..USA
198708-198808
main
88690-16151
i
EL31..MTM..USA
198608-198708
W/SUB CONDENSER
main
88690-16220
i
EL31..3FC..USA
198608-198708
sub
88690-16221
main
88690-16221
i
EL31..3FC..USA
198608-198708
W/SUB CONDENSER
main
88690-16221
i
EL31..3FC..USA
198708-198808
main
88691-10010
i
EL31..3FC..CND
198608-198808
main
88691-16050
i
EL31..MTM..CND
198708-198808
main
88691-90K02
i
EL31..MTM..CND
198608-198708
9165140612
main
91651-40612
¥70
4 parts on this diagram · 2 diagrams in section
HEATING & AIR CONDITIONING - VACUUM PIPING — Toyota Parts Diagram with OEM Numbers & Prices | EPC Data