E
EPC Data
Pricing
API Docs
Sign In
Home
›
EU
›
141410
›
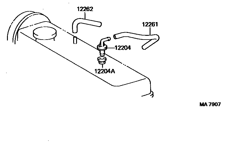
VENTILATION HOSE
VENTILATION HOSE
12204
VALVE SUB-ASSY, VENTILATION
main
12204-10020
i
3E..EL31
198608-198808
sub
12204-10030
12204A
GROMMET(FOR VENTILATION SYSTEM)
main
90480-18001
i
3E..EL31
198608-198808
12261
HOSE, VENTILATION
main
12261-11050
i
3E..EL31
198608-198808
12262
HOSE, VENTILATION, NO.2
main
12262-10020
i
3E..EL31
198608-198808
4 parts on this diagram · 1 diagram in section
VENTILATION HOSE — Toyota Parts Diagram with OEM Numbers & Prices | EPC Data