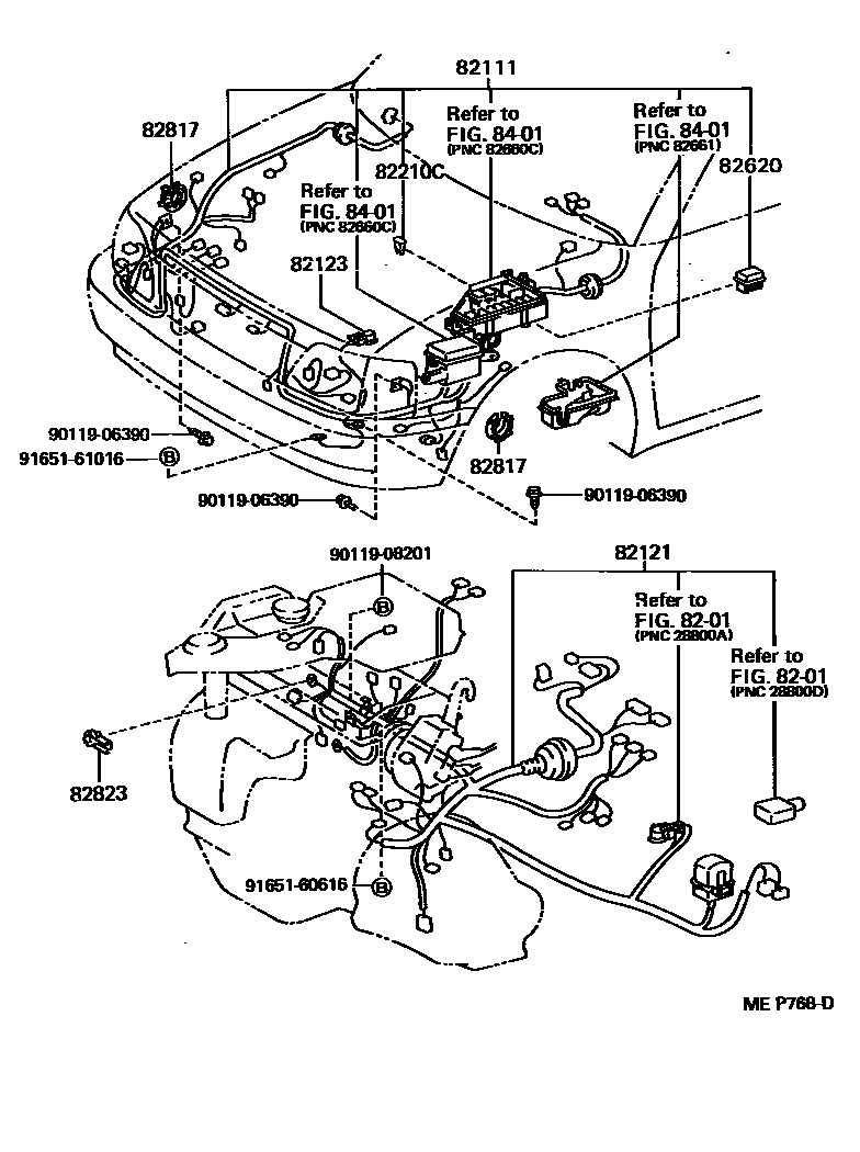
WIRING & CLAMP

8201
82111WIRE, ENGINE ROOM MAIN
UNITED KINGDOM SPEC
W(REAR WIPER---INTERMITTENT)
W(*66)
*FRG
*FRG & W(*66) OR *FRG & W(*66 & *RW)
W(*66)
NORWAY SPEC
NORWAY SPEC & W(*66)
*FRG
DEALER OPT
*FRG
*FRG & W(*66)
UNITED KINGDOM SPEC
W(*66)
UNITED KINGDOM SPEC
UNITED KINGDOM SPEC
UNITED KINGDOM SPEC
W(*66)
W(*66)
W(*66)
NORWAY SPEC OR ICELAND SPEC
NORWAY SPEC OR ICELAND SPEC
NORWAY SPEC & W(*66) OR ICELAND SPEC & W(*66)
NORWAY SPEC & W(*66) OR ICELAND SPEC & W(*66)
NORWAY SPEC & W(*66) OR ICELAND SPEC & W(*66)
*FRG
*FRG
*FRG & W(*66)
*FRG & W(*66)
*FRG & W(*66)
DEALER OPT
W(*AIC) OR W/O(*AIC)
W(*AIC) OR W/O(*AIC)
*FRG & DEALER OPT
*FRG & W(*AIC) OR *FRG OR W/O(*AIC)
*FRG & W/O(*AIC)
*FRG & W(*AIC) OR *FRG OR W/O(*AIC)
DEALER OPT
82121WIRE, ENGINE
W(ECONO METER) OR W(AIR CONDITIONER)
82123WIRE, ENGINE, NO.3
82210CFUSIBLE LINK
60A,TERM.:FEMALE,YEL,PACIFIC
60A,TERM.:FEMALE,YEL
80A,TERM.:MALE,BLK
80A,TERM.:MALE,BLK,PACIFIC
60A,TERM.:FEMALE,YEL
60A,TERM.:FEMALE,YEL,YAZAKI
50A,TERM.:MALE,RED
L=100,PINK
82620BLOCK ASSY, FUSIBLE LINK
W(*66)
82817PROTECTOR, WIRING HARNESS, NO.1
82823CAP, TERMINAL, NO.1
8401
9011906390
9011908201
9165160616
9165161016
13 parts on this diagram · 11 diagrams in section