E
EPC Data
Pricing
API Docs
Sign In
Home
›
EU
›
121540
›
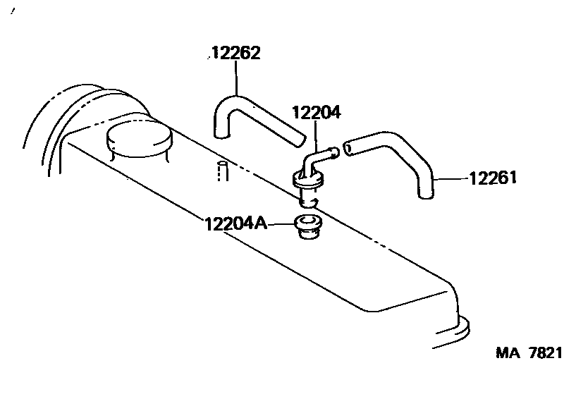
VENTILATION HOSE
VENTILATION HOSE
0001 1
0003 1
12204
VALVE SUB-ASSY, VENTILATION
main
12204-11040
i
1E,2E..EP8#;2EE..EP81..3FC,5F
¥1,810
198912-199601
12204A
GROMMET(FOR VENTILATION SYSTEM)
main
90480-18006
i
1E,2E..EP8#;2EE..EP81..3FC,5F
¥130
198912-199601
12261
HOSE, VENTILATION
main
12261-10010
i
1E..EP80
¥740
198912-199212
main
12261-11020
i
2E..EP81
¥850
198912-199212
main
12261-11090
i
2EE..EP81..3FC,5F
¥870
198912-199601
main
12261-55020
i
1N..NP80
¥880
198912-199601
12262
HOSE, VENTILATION, NO.2
main
12262-10020
i
1E,2E..EP8#;2EE..EP81..3FC,5F
¥540
198912-199209
main
12262-11060
i
2EE..EP81..3FC,5F
¥870
198912-199601
4 parts on this diagram · 2 diagrams in section
VENTILATION HOSE — Toyota Parts Diagram with OEM Numbers & Prices | EPC Data