EXHAUST PIPE

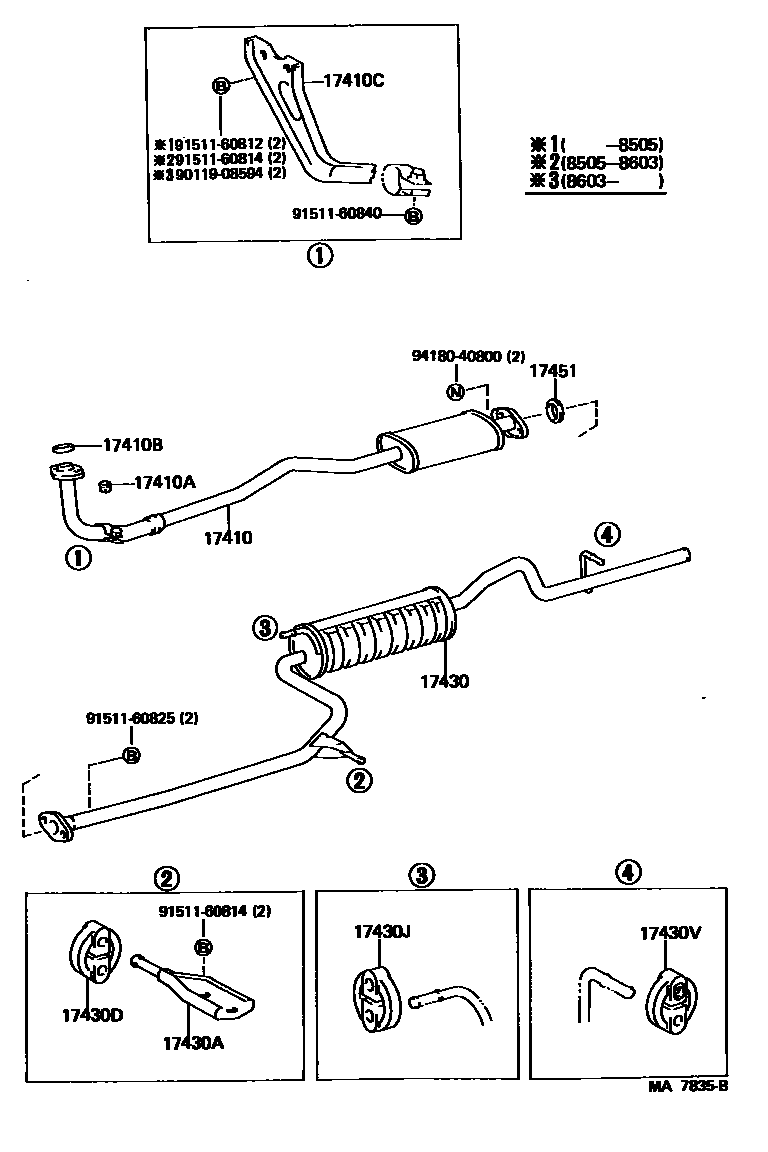
17410PIPE ASSY, EXHAUST, FRONT
sub17410-10061
sub17410-10071
HARSH ROAD PACKAGE
sub17410-11131
sub17410-11161
sub17410-11133
sub17410-11163
HARSH ROAD PACKAGE
HARSH ROAD PACKAGE
HARSH ROAD PACKAGE
sub17410-55021
sub17410-55040
17410ANUT, EXHAUST PIPE SET STUD BOLT
17410CBRACKET, EXHAUST PIPE FRONT (FOR FRONT)
HARSH ROAD PACKAGE
17430ABRACKET, EXHAUST TAILPIPE(FOR FRONT)
17430DBOLT OR RING, EXHAUST TAILPIPE (FOR FRONT)
17430JBOLT OR RING, EXHAUST TAILPIPE(FOR CENTER)
sub17565-74290
9011908594
main90119-08594
9151160812
main91511-60812
9151160814
main91511-60814
9151160825
main91511-60825
9151160840
main91511-60840
9418040800
main94180-40800
16 parts on this diagram · 6 diagrams in section