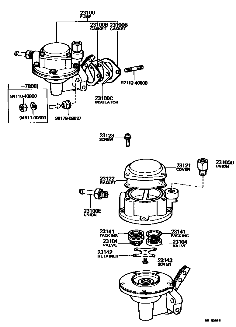
FUEL PUMP & PIPE

23100BGASKET, FUEL PUMP
sub90923-05021
23100CINSULATOR, FUEL PUMP
sub90923-06015
23100DUNION, NIPPLE(FOR FUEL OUTLET)
23100EUNION, NIPPLE(FOR FUEL INLET)
23104VALVE SUB-ASSY
23121COVER, FUEL PUMP
23122GASKET, FUEL PUMP COVER
23123SCREW, COVER SET, NO.1
23141PACKING, VALVE
23142RETAINER, VALVE
23143SCREW, VALVE RETAINER SET
9017908027
main90179-08027
9211240808
main92112-40808
9411040800
main94110-40800
9451100800
main94511-00800
16 parts on this diagram · 2 diagrams in section