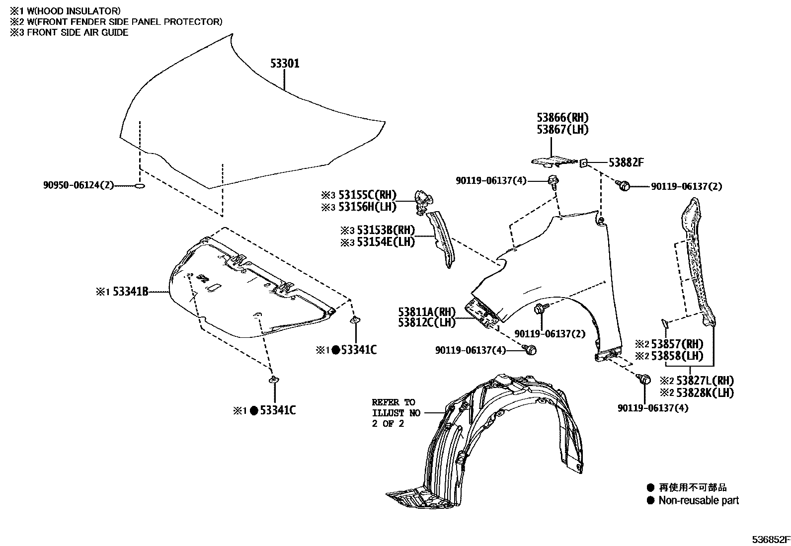
HOOD & FRONT FENDER

53153BGUIDE, FRONT SIDE AIR
NV PACKAGE
53154EGUIDE, FRONT SIDE AIR, NO.2
NV PACKAGE
53155CSEAL, RADIATOR GRILLE, NO.1
NV PACKAGE
53156HSEAL, RADIATOR GRILLE, NO.2
NV PACKAGE
53301HOOD SUB-ASSY
53341BINSULATOR, HOOD
LW PACKAGE&
NV PACKAGE
HOOD SILENCER-WITH
LW PACKAGE
53341CCLIP(FOR HOOD INSULATOR)
NV PACKAGE
HOOD SILENCER-WITH
LW PACKAGE
LW PACKAGE&
53811APANEL, FRONT FENDER, RH
53812CPANEL, FRONT FENDER, LH
53827LPROTECTOR, FRONT FENDER SIDE PANEL, RH
COLD AREA SPEC-WITH(EUROPE A RANK)
NV PACKAGE
NV PACKAGE&COLD AREA SPEC-WITH(EUROPE A RANK)
NV PACKAGE&COLD AREA SPEC-WITH(EUROPE S RANK)
COLD AREA SPEC-WITH(EUROPE S RANK)
LW PACKAGE&
53828KPROTECTOR, FRONT FENDER SIDE PANEL, LH
NV PACKAGE
NV PACKAGE&COLD AREA SPEC-WITH(EUROPE A RANK)
NV PACKAGE&COLD AREA SPEC-WITH(EUROPE S RANK)
COLD AREA SPEC-WITH(EUROPE A RANK)
COLD AREA SPEC-WITH(EUROPE S RANK)
LW PACKAGE&
53857RETAINER, FRONT WHEEL OPENING EXTENSION, RH
COLD AREA SPEC-WITH(EUROPE S RANK)
NV PACKAGE
NV PACKAGE&COLD AREA SPEC-WITH(EUROPE A RANK)
NV PACKAGE&COLD AREA SPEC-WITH(EUROPE S RANK)
COLD AREA SPEC-WITH(EUROPE A RANK)
LW PACKAGE&
53858RETAINER, FRONT WHEEL OPENING EXTENSION, LH
COLD AREA SPEC-WITH(EUROPE A RANK)
NV PACKAGE&COLD AREA SPEC-WITH(EUROPE A RANK)
NV PACKAGE&COLD AREA SPEC-WITH(EUROPE S RANK)
COLD AREA SPEC-WITH(EUROPE S RANK)
NV PACKAGE
LW PACKAGE&
53866SEAL, FRONT FENDER TO COWL SIDE, RH
53867SEAL, FRONT FENDER TO COWL SIDE, LH
53882FSEAL, FRONT FENDER
9011906137
9095006124
18 parts on this diagram · 2 diagrams in section