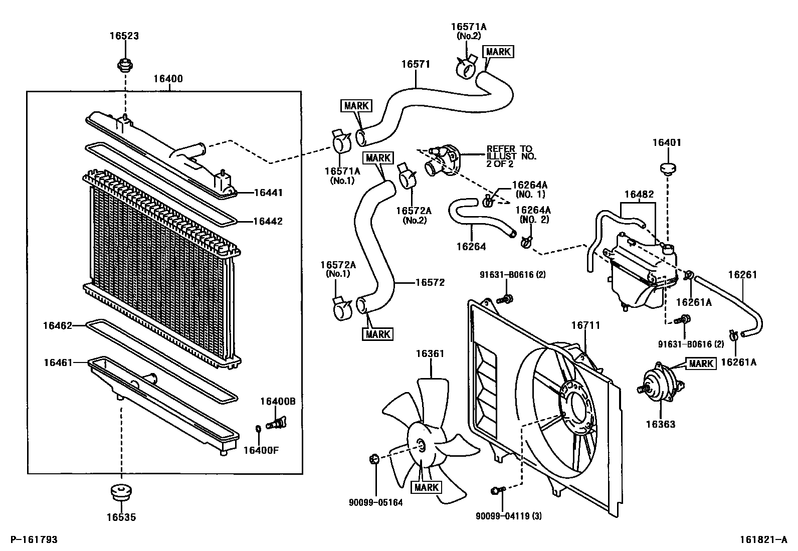
RADIATOR & WATER OUTLET

16261HOSE, WATER BY-PASS
16261ACLAMP OR CLIP, HOSE(FOR WATER BY-PASS HOSE)
16264HOSE, WATER BY-PASS, NO.2
16264ACLAMP OR CLIP(FOR WATER BY-PASS HOSE NO.2)
NO.1
NO.2
16361FAN
TYPE A:REFER TO ILLUSTRATION
MARK 402
TYPE B:REFER TO ILLUSTRATION
REFER TO ILLUSTRATION;MARK = 378
REFER TO ILLUSTRATION;MARK = 574
REFER TO ILLUSTRATION;MARK = 379
MARK 357
16363MOTOR, COOLING FAN
MARK = S
TYPE A:REFER TO ILLUSTRATION,MARK 16363-0J010
MARK = S
TYPE B:REFER TO ILLUSTRATION,MARK 16363-0J020
MARK 16363-0J020
TYPE A:REFER TO ILLUSTRATION,MARK 16363-0J010
TYPE B:REFER TO ILLUSTRATION,MARK 16363-23020
16400RADIATOR ASSY
MEXICO SPEC
16400BPLUG, RADIATOR DRAIN COCK
16400FPACKING(FOR RADIATOR DRAIN COCK)
16441TANK, RADIATOR, UPPER
16442RING, O(FOR RADIATOR UPPER TANK)
16461TANK, RADIATOR, LOWER
16482TANK SUB-ASSY, RADIATOR RESERVE
16523CUSHION, SUB-RADIATOR SUPPORT
16535SUPPORT, RADIATOR, LOWER
16571HOSE, RADIATOR, INLET
(L)
MARK=WHITE
(J)
MARK=YELLOW
16571ACLAMP OR CLIP, HOSE(FOR RADIATOR INLET)
NO.1
NO.2
NO.2
NO.1
16572HOSE, RADIATOR, OUTLET
(L)
MARK=WHITE
MARK=ORANGE,YELLOW
(J)
16572ACLAMP OR CLIP, HOSE(FOR RADIATOR OUTLET NO.1)
NO.1
NO.2
NO.1
NO.2
16711SHROUD, FAN
TYPE A:REFER TO ILLUSTRATION
TYPE B:REFER TO ILLUSTRATION
9009904119
main90099-04119
9009905164
main90099-05164
91631B0616
main91631-B0616
25 parts on this diagram · 8 diagrams in section