E
EPC Data

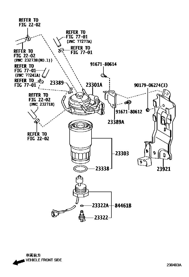
FUEL FILTER

Parts diagram
2202
23301ACAP ASSY, FUEL FILTER
main23380-0N062i201011-201302
main23380-33062i201302-201504
23303ELEMENT SUB-ASSY, FUEL FILTER
main23390-33060i201011-201504
23322PLUG, DRAIN(FOR FUEL FILTER)
main23388-64470i201011-201504
23322ARING, O(FOR DRAIN PLUG)
main23344-54010i201011-201504
23338GASKET(FOR WARNING SWITCH)
main23344-64010i201011-201504
23389CLAMP, FUEL FILTER
main23389-0N010i201011-201302
main23389-33040i201302-201504
23389ACLAMP, FUEL FILTER
main23389-0N060i201011-201302
main23389-33060i201302-201504
23921SUPPORT, FUEL FILTER
main23921-33060i201011-201504
7701
84461BSWITCH, LEVEL WARNING
main84461-60080i201011-201110
main84461-60081i201110-201504
9017906274
9167180612
9167180614

14 parts on this diagram · 1 diagram in section

FUEL FILTER — Toyota Parts Diagram with OEM Numbers & Prices | EPC Data